Nitrin.ru – Главная страница
Каталог

S20Q-SVWCR16 Резец расточной

1 547.10
1 719.00 Выгода 171.9
В корзине
Под заказ
  • Предварительный срок поставки товаров «под заказ» 4-5 недель
  • В случае отсутствия товара на складе у наших партнеров срок поставки увеличивается до 6-8 недель
  • При заказе от 10 000 рублей - доставка бесплатно
  • Оформление заказа доступно только для юридических лиц
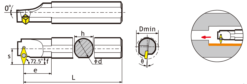
Общие Характеристики
Бренд NITRIN
Марка расточного резца SVWCR/L
Применяемая пластина VC**1604**
Исполнение Правое
Система крепления S - крепление пластин винтом
Тип державки Стальная
Ød хвост., мм 20
Длина (L), мм 180 (Q)
Размер устанавливаемой пластины 16
Форма устанавливаемой пластины V-ромбическая 35°
S, мм 22
e, мм 25
h, мм 30
ØD min, мм 32
Вид точения Внутреннее
Чертеж
Оплата и доставка
Ранее вы смотрели
1 719.00 1 547.10
2 101.00 1 890.90
4 090.00 3 681.00
2 996.00 2 696.40
231.00 207.90
2 491.00 2 241.90
1 337.00 1 203.30
1 910.00 1 719.00
2 093.00 1 883.70
1 434.00 1 290.60
1 719.00 1 547.10
2 058.00 1 852.20
2 058.00 1 852.20
4 887.00 4 398.30